本實用新型涉及眼鏡鏡框加工設備領域,具體涉及一種高效率的全自動數控眼鏡框加工設備。

背景技術:
眼鏡鏡框加工一般分兩道工序,鏡框的內框(鏡片的安裝位置)為第一道加工工序,鏡框的外框(鏡框外形輪廓)為第二道加工工序。
現有的眼鏡鏡框加工機,都是先進行第一加工工序,再進行第二道加工工序,兩道工序不能同時進行,工作效率低。
針對上述情況,本申請人于2016年6月申請了一件名稱為《一種全自動數控眼鏡鏡框加工機》,申請號為201620617181.7的實用新型專利,其提供了一種兩道工序能同時進行的全自動數控眼鏡鏡框加工機,來提高設備的工作效率。
但是,申請人發現,鏡框的內框加工速度會快于眼鏡外框的加工速度,往往眼鏡內框加工好了,眼鏡外框還在加工,這樣會影響鏡框的加工效率。
技術實現要素:
針對上述的不足,本實用新型的目的是提供一種加工效率高的全自動數控眼鏡框加工設備。
為了實現上述目的,本實用新型采用的技術方案是:
一種高效率的全自動數控眼鏡框加工設備,包括機架,其特征在于:所述機架上設有第一縱向導軌,所述第一縱向導軌的左側設有與其平行的第二縱向導軌,所述第一縱向導軌的右側設有與其垂直的第一橫向導軌;
所述第一縱向導軌上設有與其滑動配合的眼鏡內框加工固定夾具和第一眼鏡外輪廓加工固定夾具;所述第二縱向導軌上設有與其滑動配合第二眼鏡外輪廓加工固定夾具;
所述第一橫向導軌上設有與其滑動配合的眼鏡內框加工刀組裝置,眼鏡內框加工刀組裝置用于對眼鏡內框加工固定夾具上的待加工料進行眼鏡內框加工;
所述第一縱向導軌和第二縱向導軌的上方還設有第二橫向導軌,所述第二橫向導軌上設有與其滑動配合的第一眼鏡外輪廓加工刀組裝置和第二眼鏡外輪廓加工刀組裝置,第一眼鏡外輪廓加工刀組裝置用于對第一眼鏡外輪廓加工固定夾具上的待加工料進行眼鏡外輪廓加工,第二眼鏡外輪廓加工刀組裝置用于對第二眼鏡外輪廓加工固定夾具上的待加工料進行眼鏡外輪廓加工。
本實用新型還進一步設置為,所述眼鏡內框加工刀組裝置包括與第一橫向導軌滑動配合的座體,所述座體上設有可在豎直方向運動的切割刀。
本實用新型還進一步設置為,眼鏡內框加工刀組裝置上還設有第一機械手,第一機械手用于抓取待加工料放入眼鏡內框加工固定夾具中進行固定。
本實用新型還進一步設置為,所述第一眼鏡外輪廓加工刀組裝置和第二眼鏡外輪廓加工刀組裝置均包括座體二,座體二與第二橫向導軌滑動配合,座體二上設有可在豎直方向運動的切割刀二。
本實用新型還進一步設置為,所述第一眼鏡外輪廓加工刀組裝置和第二眼鏡外輪廓加工刀組裝置上均設有第二機械手,第二機械手用于把眼鏡內框加工固定夾具中的待加工料移至第一眼鏡外輪廓加工固定夾具和第二眼鏡外輪廓加工固定夾具中進行固定。
本實用新型還進一步設置為,所述第二橫向導軌為可轉動的絲桿。
本實用新型的有益效果:
本實用新型所提供的高效率的全自動數控眼鏡框加工設備,其具有兩套眼鏡外輪廓加工裝置來對應一套眼鏡內框加工裝置,解決了因眼鏡外輪廓加工較慢,造成眼鏡內框加工裝置需要等待的問題,通過采用上述技術方案提高了眼鏡框加工設備的工作效率。
附圖說明
圖1為本實用新型的結構示意圖;
圖2為本實用新型眼鏡內框加工刀組裝置的結構示意圖;
圖3為本實用新型第一眼鏡外輪廓加工刀組裝置和第二眼鏡外輪廓加工刀組裝置的結構示意圖。
具體實施方式
下面結合附圖和實施例,對本實用新型的具體實施方式作進一步詳細描述。 以下實施例用于說明本實用新型,但不用來限制本實用新型的范圍。
以下參考圖1至圖3對本實用新型進行說明。
一種高效率的全自動數控眼鏡框加工設備,包括機架1,所述機架上設有第一縱向導軌2,所述第一縱向導軌2的左側設有與其平行的第二縱向導軌3,所述第一縱向導軌2的右側設有與其垂直的第一橫向導軌4;所述第一縱向導軌2上設有與其滑動配合的眼鏡內框加工固定夾具5和第一眼鏡外輪廓加工固定夾具6;所述第二縱向導軌3上設有與其滑動配合的第二眼鏡外輪廓加工固定夾具7(眼鏡內框加工固定夾具和眼鏡外輪廓加工固定夾具的具體結構在申請號為201620617181.7的實用新型專利中已經公開);所述第一橫向導軌4上設有與其滑動配合的眼鏡內框加工刀組裝置8,眼鏡內框加工刀組裝置8用于對眼鏡內框加工固定夾具5上的待加工料進行眼鏡內框加工;所述第一縱向導軌2和第二縱向導軌3的上方還設有第二橫向導軌9,所述第二橫向導軌9上設有與其滑動配合的第一眼鏡外輪廓加工刀組裝置10和第二眼鏡外輪廓加工刀組裝置11,第一眼鏡外輪廓加工刀組裝置10用于對第一眼鏡外輪廓加工固定夾具6上的待加工料進行眼鏡外輪廓加工,第二眼鏡外輪廓加工刀組裝置11用于對第二眼鏡外輪廓加工固定夾具7上的待加工料進行眼鏡外輪廓加工。
上述眼鏡內框加工固定夾具5、第一眼鏡外輪廓加工固定夾具6、第二眼鏡外輪廓加工固定夾具7、眼鏡內框加工刀組裝置8、第一眼鏡外輪廓加工刀組裝置10、第二眼鏡外輪廓加工刀組裝置11的移動均由數控系統控制驅動,實現X-Y-Z軸的加工。
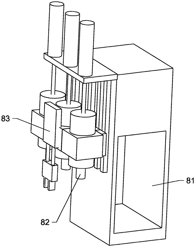
眼鏡內框加工刀組裝置8包括與第一橫向導軌滑動配合的座體81,所述座體81上設有可在豎直方向運動的切割刀82。眼鏡內框加工刀組裝置8上還設有第一機械手83,第一機械手83用于抓取待加工料放入眼鏡內框加工固定夾具5中進行固定。
第一眼鏡外輪廓加工刀組裝置10和第二眼鏡外輪廓加工刀組裝置11均包括座體二101,座體二101與第二橫向導軌9滑動配合,座體二101上設有可在豎直方向運動的切割刀二102,所述第一眼鏡外輪廓加工刀組裝置10和第二眼鏡外輪廓加工刀組裝置11上均設有第二機械手103,第二機械手103用于把眼鏡內框加工固定夾具5中的待加工料移至第一眼鏡外輪廓加工固定夾具10和第二眼鏡外輪廓加工固定夾具11中進行固定,第二橫向導軌9為可轉動的絲桿。
以上所述僅是本實用新型的優選實施方式,應當指出,對于本技術領域的 普通技術人員來說,在不脫離本實用新型技術原理的前提下,還可以做出若干改進和變型,上述假設的這些改進和變型也應視為本實用新型的保護范圍。
上一頁:眼鏡釘鉸機的制作方法
下一頁:眼鏡加工設備的維護方法
深圳名峰機器設備有限公司 Shenzhen Mingfeng machine equipment Co. Ltd.Copyright 2016-
名峰機器?版權所有
技術支持:新奇網絡